-
Konflikti organizācijās
Novērtēts!
| Nr. | Sadaļas nosaukums | Lpp. |
| Ievads | ||
| Konflikts dabas organizācijā | ||
| 1.1. | Konflikta jēdziens | |
| 1.2. | Konflikta veidi | |
| Iekšpersonas konflikts | ||
| Konflikts starp personu un grupu | ||
| Starpgrupas konflikts | ||
| 1.3. | Konflikta cēlonis | |
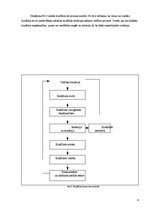
| 1.4. | Konflikta procesa modelis | |
| Konflikta funkcionālās sekas | ||
| 1.5. | Konflikta ilgums | |
| 2. | Konflikta situācijas vadība | |
| 2.1. | Konflikta atrisināšanas struktūras metodes | |
| 2.2. | Konflikta atrisināšanas starppersonu stili | |
| Secinājumi |
Nav parāk daudz cilvēku, kuri konflikta procesus atzīst par labiem, taču gandrīz visi tajos piedalās. Ja konkurences procesos sāncenši vienkārši mēģina aizteigties priekšā viens otram, būt labāks, tad viņi konfliktā meģina uzspiest pretiniekam savu gribu, izmainīt tā uzvedību vai arī vispār likvidēt to. Sakarā ar to, ar konfliktu saprot meģinājumu sasniegt atalgojumu pakļaušanas ceļā, savas gribas uzspiešanu pretiniekam, pretinieka izraidīšanu vai pat iznīcināšanu, kurš mēģina sasniegt to pašu atalgojumu. Atseviškas slepkavības vai cīņas, draudi, vēršanās pie likuma pretinieka iespaidošanai, koalīciju radīšana kopējo spēku apvienošanai ir vienkārši dažas no sociālā konflikta izpausmēm.
Dažos gadījumos galējas konflikta izpausmes rezultātā notiek pretinieka pilnīga iznīcināšana (piemēram, Roma iznīcināja Karfagenu vai amerikāņu pārceļotāji praktiski iznīcināja indiāņus, kuri naidojās ar tiem). Konfliktos ar mazāku piespiedu formu naidīgo pušu galvenais mērķis ir atstādināt pretiniekus no efektīvas konkurences, ierobežojot to resursus, manevru brīvību, samazinot to statusu un prestižu. Piemēram, konflikts starp darba devēju un darbinieku var novest pie tā, ka uzvaras gadījumā darbinieks var tikt atlaists no darba, pazemināts amatā, vai spiests aiziet no kolektīva.
Konflikti starp indivīdiem galvenokārt ir dibināti uz emocijām un personīgām antipātijām, tai pat laikā starpgrupu konfliktiem ir bezpersonisks raksturs, kaut gan ir iespējami arī personīgo antipātiju uzliesmojumi.
Izraisīto konfliktu procesu apturēt ir grūti. Tas ir izskaidrojams ar to, ka konfliktam ir komulatīva daba, citiem vārdiem sakot, jebkura agresīva rīcība izraisa atbildes rīcību vai atriebību, turklāt tās ir spēcīgākas par pirmo.
Konflikts saasinās un aptver arvien vairāk cilvēku. Vienkāršs apvainojums galu galā var novest pie nežēlības izpausmēm attiecībā pret pretiniekiem. Neželība sociālajā konfliktā dažreiz kļūdaini tiek uzskatīta par sadismu un cilvēka dotībām no dabas, tomēr visbiežāk nežēlību izdara vienkārši cilvēki, kuri nonāk ekstraordinārā situācijā.
Konfliktprocesi var piespiest cilvēkus spēlēt lomas, kurās vieņiem jābūt nežēlīgiem un cietsirdīgiem.
Grūtības, kuras rodas konflikta dzēšanas un lokalizācijas laikā, prasa visa konflikta rūpīgu analīzi, tā iespējamo cēloņu un seku konstatēšanu.
Konflikta raksturs organizācijā
Tāpat kā daudziem jēdzieniem, arī konfliktam ir vairāki definējumi un traktējumi. Viens no tiem skaidro konfliktu kā saticības trūkumu starp divām vai vairākām pusēm, kuras var būt gan konkrētas personas, gan grupas. Katra puse dara visu iespējamo, lai tiktu pieņemts viņas viedoklis vai mērķis un neļauj otrai pusei panākt to pašu.…
"Nav parāk daudz cilvēku, kuri konflikta procesus atzīst par labiem, taču gandrīz visi tajos piedalās. Ja konkurences procesos sāncenši vienkārši mēģina aizteigties priekšā viens otram, būt labāks, tad viņi konfliktā meģina uzspiest pretiniekam savu gribu, izmainīt tā uzvedību vai arī vispār likvidēt to. Sakarā ar to, ar konfliktu saprot meģinājumu sasniegt atalgojumu pakļaušanas ceļā, savas gribas uzspiešanu pretiniekam, pretinieka izraidīšanu vai pat iznīcināšanu, kurš mēģina sasniegt to pašu atalgojumu. Atseviškas slepkavības vai cīņas, draudi, vēršanās pie likuma pretinieka iespaidošanai, koalīciju radīšana kopējo spēku apvienošanai ir vienkārši dažas no sociālā konflikta izpausmēm.(...)"
- Konflikta anatomija
- Konflikta izpratnes shēma
- Konflikti organizācijās
-
Tu vari jebkuru darbu ātri pievienot savu vēlmju sarakstam. Forši!Vadītāji organizācijās, to loma organizācijas dzīvē
Referāts augstskolai13
-
Konflikti
Referāts augstskolai7
-
Organizācijas ārējie un iekšējie faktori un to ietekme uz manu organizāciju
Referāts augstskolai5
-
Organizācijas ārējās un iekšējās vides faktori
Referāts augstskolai15
-
Organizācijas ārējā vide
Referāts augstskolai9

