-
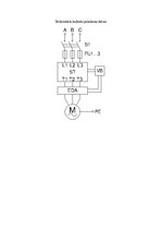
Asinhronā dzinēja vadības un aizsardzības aparātu izvēle
Jauns
Darbu komplekts:
IZDEVĪGI pirkt komplektā ➞ ietaupīsi −6,98 €
- Asinhronā dzinēja vadības un aizsardzības aparātu izvēle
- Ēku energoefektivitātes paaugstināšana
- Elektrotehnikas konspekts
Materiālu komplekts Nr. 1408598


