Pievienot darbus Atzīmētie0
Darbs ir veiksmīgi atzīmēts!

Atzīmētie darbi

Skatītie0

Skatītie darbi

Grozs0
Darbs ir sekmīgi pievienots grozam!

Grozs

Reģistrēties

interneta bibliotēka
Atlants.lv bibliotēka
Akcijas un īpašie piedāvājumi 2 Atvērt
1,99 € Ielikt grozā
Gribi lētāk?
Identifikators:484725
 
Autors:
Vērtējums:
Publicēts: 26.11.2018.
Valoda: Latviešu
Līmenis: Vidusskolas
Literatūras saraksts: 16 vienības
Atsauces: Ir
SatursAizvērt
Nr. Sadaļas nosaukums  Lpp.
1.  Kas ražo?    2
2.  Izejvielas    2
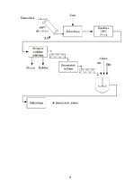
3.  Tehnoloģiskais process    3
4.  Masas bilance    5
5.  Produkta apraksts un nosakāmie kvalitātes kritēriji    5
6.  Literatūras saraksts    6
Darba fragmentsAizvērt

5. Produkta apraksts un nosakāmie kvalitātes kritēriji
Zemesriekstu sviests ir produkts, kas tiek iegūts samaļot apgrauzdētus un blanšētus zemesriekstus. Pēc konsistences izšķir trīs tipa zemesriekstu sviestus: smooth, medium un crunchy. Smooth nozīmē, ka zemesriekstu sviestā nav sajūtami zemesriekstu gabaliņi, tas ir ļoti viendabīgs, viegli izsmērējams. Medium nozīmē, ka zemesriekstu sviestam ir nedaudz graudaina tekstūra, bet zemesriekstu daļiņu izmērs nepārsniedz 1,5 – 1,6 milimetrus, savukārt crunchy zemesriekstu sviestā zemesriekstu daļiņu skaits ir ievērojams un to izmērs pārsniedz 1,5 – 1,6 milimetrus.[16]
Kā jau jebkuram pārtikas produktam, arī zemesriekstu sviestam var noteikt piesātināto, nepiesātināto tauku daudzumu, olbaltumvielu daudzumu, enerģētisko vērtību, cukura un sāls daudzumu utt.
Izšķir stabilizēta un nestabilizēta tipa zemesriekstu sviestu. Stabilizētam zemesriekstu sviestam ir pievienoti ingredienti, kas novērš zemesriekstu eļļas izdalīšanos un nostādināšanos zemesriekstu sviesta virspusē, savukārt nestabilizētam zemesriekstu sviestam šādi ingredienti nav pievienoti.[16]
Lai noteikti, cik kvalitatīvs ir zemesriekstu sviests, tiek ņemta vērā zemesriekstu sviesta krāsa, konsistence, garša un aromāts. …

Autora komentārsAtvērt
Parādīt vairāk līdzīgos ...

Atlants

Izvēlies autorizēšanās veidu

E-pasts + parole

E-pasts + parole

Norādīta nepareiza e-pasta adrese vai parole!
Ienākt

Aizmirsi paroli?

Draugiem.pase
Facebook

Neesi reģistrējies?

Reģistrējies un saņem bez maksas!

Lai saņemtu bezmaksas darbus no Atlants.lv, ir nepieciešams reģistrēties. Tas ir vienkārši un aizņems vien dažas sekundes.

Ja Tu jau esi reģistrējies, vari vienkārši un varēsi saņemt bezmaksas darbus.

Atcelt Reģistrēties