Pievienot darbus Atzīmētie0
Darbs ir veiksmīgi atzīmēts!

Atzīmētie darbi

Skatītie0

Skatītie darbi

Grozs0
Darbs ir sekmīgi pievienots grozam!

Grozs

Reģistrēties

interneta bibliotēka
Atlants.lv bibliotēka
Akcijas un īpašie piedāvājumi 2 Atvērt
4,49 € Ielikt grozā
Gribi lētāk?
Identifikators:947412
 
Autors:
Vērtējums:
Publicēts: 29.01.2024.
Valoda: Latviešu
Līmenis: Augstskolas
Literatūras saraksts: Nav
Atsauces: Nav
SatursAizvērt
Nr. Sadaļas nosaukums  Lpp.
1.  PIRCĒJU SŪDZĪBU ANALĪZES SAGATAVOŠANAS PROCESS    3
2.  PIRCĒJU SŪDZĪBU ANALĪZE    5
2.1.  Pircēju sūdzību uzskaite kontroles kartēs un to radniecības noteikšana    5
2.2.  Pircēju sūdzību skaita katrā sūdzību grupā laika grafika izstrāde    6
2.3.  Pircēju sūdzību analīzes Pareto diagramma    7
2.4.  Galvenās sūdzību grupas sūdzību analīze    8
2.5.  Išikavas diagramma sūdzību grupai “Nav nepieciešamā produkta”    9
  SECINĀJUMI    12
  REKOMENDĀCIJAS    13
  SLĒDZIENS    14
  PIRCĒJU SŪDZĪBU ANALĪZES KONTROLES KARTES    15
Darba fragmentsAizvērt

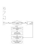
1. PIRCĒJU SŪDZĪBU ANALĪZES SAGATAVOŠANAS PROCESS

Lai sekmīgi analizētu lielveikalu ķēdes Tip-Top Market apmeklētāju sūdzību pārskatu par pēdējo astoņu nedēļu otrdienām un sniegtu rekomendācijas situācijas uzlabošanai – pircēju sūdzību skaita samazināšanai –, tika izstrādāti soļi pircēju sūdzību analīzes sagatavošanas procesam, un tie attēloti 1.1. att. plūsmkartē. Plūsmkartē izmantotie apzīmējumi un to paskaidrojumi apkopoti 1.1. tabulā.

Plūsmkartē izmantotie apzīmējumi un to paskaidrojumi
Apzīmējums plūsmkartē Paskaidrojums

Sistēmas sākums vai beigas
Konkrēta darbība vai etaps
Sistēmā ienākošs elements
Lēmums
Norāda procesa virzienu un secību vai iespējamās izvēles, ja savieno lēmumu ar citu elementu

Pircēju sūdzību skaita samazināšanai jāveic šādi soļi:…

Autora komentārsAtvērt
Redakcijas piezīmeAtvērt
Parādīt vairāk līdzīgos ...

Atlants

Izvēlies autorizēšanās veidu

E-pasts + parole

E-pasts + parole

Norādīta nepareiza e-pasta adrese vai parole!
Ienākt

Aizmirsi paroli?

Draugiem.pase
Facebook

Neesi reģistrējies?

Reģistrējies un saņem bez maksas!

Lai saņemtu bezmaksas darbus no Atlants.lv, ir nepieciešams reģistrēties. Tas ir vienkārši un aizņems vien dažas sekundes.

Ja Tu jau esi reģistrējies, vari vienkārši un varēsi saņemt bezmaksas darbus.

Atcelt Reģistrēties