-
Ko darīt ar izlietoto iepakojumu?
| Nr. | Sadaļas nosaukums | Lpp. |
| 1. | Par organizāciju “Latvijas Zaļā josta” | 4 |
| 1.1. | Teritoriālās darbības programma | 6 |
| 1.2. | Otrreizējo izejvielu apsaimniekošanas sistēma | 6 |
| 2. | Izlietotais iepakojums | 8 |
| 2.1. | Kas ir atkritumi | 8 |
| 2.2. | Situācija ar sadzīves atkritumu izgāztuvēm | 8 |
| 3. | No kā sastāv sadzīves atkritumi | 9 |
| 3.1. | Kas ir atkritumu ražotāji | 9 |
| 3.2. | Kas ir iepakojums | 9 |
| 3.3. | Iepakojuma apsaimniekošanas likumdošana | 9 |
| 3.4. | Atkritumu pārstrāde izejvielu atgūšana | 10 |
| 4. | Kas piedalīsies atkritumu šķirošanā | 13 |
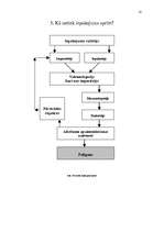
| 5. | Kā notiek iepakojuma aprite | 14 |
| 6. | Apsekojamās teritorijas apraksts | 15 |
| 7. | Aptaujas | 16 |
| 7.1. | Aptaujas rezultāti Spīdolas skolā | 16 |
| 7.2. | Secinājumi par aptaujas rezultātiem Spīdolas skolā | 17 |
| 7.3. | Aptaujas rezultāti apsekotajos uzņēmumos | 18 |
| 7.4. | Apsekoto uzņēmumu saraksts | 18 |
| 7.5. | Secinājumi par aptaujas rezultātiem apsekotajos uzņēmumos | 19 |
| 8. | Secinājumi | 20 |
| 9. | Izmantotā literatūra | 21 |
Projekta tēmu „Ko darīt ar izlietoto iepakojumu?” izvēlējāmies, lai uzzinātu kā notiek izlietotā iepakojuma savākšana, pārstrāde un cik nozīmīgi tas ir, kādu ietekmi tas atstātu uz dabu, ja izlietotais iepakojums netiktu savākts un pārstrādāts. Projekta gaitā ir iespēja noskaidrot skolnieku un Jelgavas uzņēmumu vadītāju domas par izlietotā iepakojuma pārstrādi.
Projektā ir ievietoti skolnieku anketēšanas rezultāti un uzņēmumu kopējās attieksmes rezultāts attiecībā uz iepakojuma pārstrādi.
Projekta mērķis ir aktivizēt un informēt Jelgavas iedzīvotājus par izlietotā iepakojuma pārstrādes nepieciešamību un uzsākt to šķirot. Iesaistīt Jelgavas skolu audzēkņus aktuālu pilsētvides jautājumu risināšanā. Projekta ietvarā devāmies ekskursijā uz Rīgu, kur varējām apskatīt kādā līmenī pašreiz Latvijā ir iepakojuma pārstrāde. Pašreiz tiek slēgti līgumi ar uzņēmumiem, kuri nodod pārstrādes uzņēmumiem izlietoto iepakojumu, bet no pilsētas konteineriem atkritumi netiek šķiroti, jo Latvijā tam nav paredzēti līdzekļi.
Mūsu projekta rezultātā, skolai tika uzdāvināti divi atkritumu konteineri: papīra un plastmasas šķirošanai.
Mūsu darba uzdevums bija apsekot objektus, kuri atradās mums ierādītajā teritorijā un uzzināt – intervēt, cik un kāda veida atkritumus viņi nodod pārstrādei, cik šķirošanai un cik nonāk kopējos atkritumos. Kāda ir viņu attieksme pret šķirošanu. Darba beigās izveidot atskaiti, lai informētu pārējos projekta dalībniekus par mūsu veikto darbu.
Sabiedrība ar ierobežotu atbildību "Latvijas Zaļā josta" ir brīvprātīga izlietotā iepakojuma apsaimniekošanas organizācija. Programmas mērķis ir samazināt izlietotā iepakojuma nelabvēlīgo ietekmi uz vidi un veicināt brīvprātīgas vienošanās un atbildības principu ieviešanu izlietotā iepakojuma apsaimniekošanā.
Rīgā 2002.gada 3.maijā tika nodibināts atklātais sabiedriskais fonds
"Latvijas Zaļā josta" ir sabiedriska organizācija, kurā apvienojas asociācijas un uzņēmumi, kuri vēlas redzēt sakoptu Latviju. Latviju kā valsti, kurā uzņēmumi var saimniekot zinot, ka to saražotās preces un preču iepakojums pēc izmantošanas pamatmērķim kļūst nevis par atkritumiem, bet izejmateriālu, kurš tiek nogādāts vietā, kur zina tā vērtību un pielietojumu. …
Ko darīt ar izlietotiem atkritumiem, par organizāciju Zaļā josta. Darbības programma. Otrreizējo izejvielu apsaimniekošanas sistēma, No kā sastāv sadzīves atkritumi, Atkritumu pārstrāde izejvielu atgūšana.
- Aktuālākās problēmas dzīvnieku aizsardzībā pasaulē
- Atkritumu pārstrāde
- Ko darīt ar izlietoto iepakojumu?
-
Tu vari jebkuru darbu ātri pievienot savu vēlmju sarakstam. Forši!Globālā sasilšana
Referāts vidusskolai43
-
Atkritumi
Referāts vidusskolai15
-
Atkritumu veidi un to apsaimniekošana Latvijā
Referāts vidusskolai39
-
Projekts
Referāts vidusskolai17
-
Aktuālākās problēmas dzīvnieku aizsardzībā pasaulē
Referāts vidusskolai42

