Pievienot darbus Atzīmētie0
Darbs ir veiksmīgi atzīmēts!

Atzīmētie darbi

Skatītie0

Skatītie darbi

Grozs0
Darbs ir sekmīgi pievienots grozam!

Grozs

Reģistrēties

interneta bibliotēka
Atlants.lv bibliotēka
Akcijas un īpašie piedāvājumi 2 Atvērt
1,99 € Ielikt grozā
Gribi lētāk?
Identifikators:286979
 
Autors:
Vērtējums:
Publicēts: 26.04.2012.
Valoda: Latviešu
Līmenis: Augstskolas
Literatūras saraksts: Nav
Atsauces: Nav
Darba fragmentsAizvērt

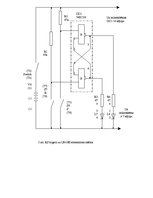
RS trigeris.
Ja trigera ieejā S padod loģisko signālu 1, bet ieejā R saglabā 0 signālu, tad signāla izejā Q signāls kļūs vienāds ar 1, neatkarīgi no tā vai trigeris jau bija šajā stāvoklī vai atradās pretējā stāvoklī. Ja pēc tam S ieejā padosim 0 signālu trigera stāvoklis nemainīsies. Padodot ieejā R loģisko signālu 1, bet ieejā S saglabājot 0 signālu, trigeris pāries 0 stāvoklī (izejā Q būs loģiskā nulle). Šajā gadījumā ir viena aizliegta ieejas signālu kombinācija R(t)=S(t)=1 , jo izeju stāvoklis būs nenoteikts.
RS Trigera statiskā režīmā īstenības (stāvokļu) tabula .

Autora komentārsAtvērt
Parādīt vairāk līdzīgos ...

Atlants

Izvēlies autorizēšanās veidu

E-pasts + parole

E-pasts + parole

Norādīta nepareiza e-pasta adrese vai parole!
Ienākt

Aizmirsi paroli?

Draugiem.pase
Facebook

Neesi reģistrējies?

Reģistrējies un saņem bez maksas!

Lai saņemtu bezmaksas darbus no Atlants.lv, ir nepieciešams reģistrēties. Tas ir vienkārši un aizņems vien dažas sekundes.

Ja Tu jau esi reģistrējies, vari vienkārši un varēsi saņemt bezmaksas darbus.

Atcelt Reģistrēties