-
Šķirošnas algoritmu salīdzināšana
| Nr. | Sadaļas nosaukums | Lpp. |
| 1. | Šķirošanas algoritmu apraksts | 3 |
| 1.1. | Bubble Sort algoritms | 3 |
| 1.2. | Select Sort algoritms | 3 |
| 1.3. | Inser Sort algoritms | 3 |
| 1.4. | Shell Sort algoritms | 4 |
| 1.5. | Quick sort algoritms | 4 |
| 2. | Blokshēmas | 5 |
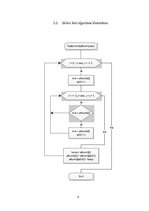
| 2.1. | Bubble sort algoritma blokshēma | 5 |
| 2.2. | Select Sort algoritma blokshēma | 6 |
| 2.3. | Insert Sort algoritma blokshēma | 7 |
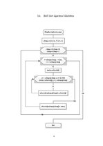
| 2.4. | Shell sort algoritma blokshēma | 8 |
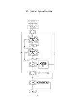
| 2.5. | Quick sort algoritma blokshēma | 9 |
| 3. | Programmas listings | 10 |
| 4. | Eksperimenta gaita | 16 |
| 5. | Rezultāti | 17 |
| 5.1. | Bubble Sort algoritms | 17 |
| 5.2. | Select Sort algoritms | 18 |
| 5.3. | Insert Sort algoritms | 20 |
| 5.4. | Shell Sort algoritms | 22 |
| 5.5. | Quick sort algoritms | 24 |
| 5.6. | Apkopojošie grafiki | 26 |
| 6. | Secinājumi | 29 |
| 7. | Izmantotā literatūra | 30 |
6. SECINĀJUMI
Pēc rezultātu apstrādes, var tikt secināts, ka datu struktūru šķirošanai ir neizdevīgi izmantot vienkāršākās šķirošanas metodes, tas ir, burbuļa šķirošanas un izvēles šķirošanas algoritmus. Pie maziem struktūru izmēriem (apmēram līdz 1000 elementiem) atšķirība neizpaužas, bet praktiski izmantojamiem izmēriem, kas sniedzas vairākos tūkstošos, simtos tūkstošu un pat miljonos elementu, atšķirība ir būstiska.
Tāpat eksperiments parādīja, ka teorētiski pieņemtasi uzskats – visilgāk vajadzētu šķirot pretējā secībā sašķirotus masīvus, jo tajos katrs elements atrodas vistālāk no tam paredzētās vietas – praksē sevi attaisno ne ar visiem šķirošanas algoritmiem, jo ātrās šķirošanas algoritma gadījumā visvairāk laika prasīja jauktas elementu secības masīvi šķirošana.
No trim efektīvākajiem apskatītajiem algoritmiem (ievietošanas, Šella un ātrās šķirošanas algoritmi) izvēloties ātrāko, ir jāņem vērā daži faktori.
Pirmkārt, rezultāti parāda, ka Šella un ievietošanas šķirošanas algoritmi ir daudz efektīvāki par pārējiem tieši uz sašķirotiem masīviem. Tāpat Šella metodes efektivitāti nosaka soļu izvēle, tātad pie optimālielm soļiem tas darbosies vēl ātrāk.
Otrkārt, pielāgojams algoritms ir arī ātrās šķirošanas metode. Šī eksperimenta gadījumā par centrālo elementu, balstoties uz kuru tika šķiroti masīvi, tika izvēlēts masīva vidējais elements. Kā informācijas resursi vēsta, tas nav efektīvākais variants. Tātad pareizi izvēloties centrālo elementu, var panākt ātrās šķirošanas algoritma efektivitātes uzlabojumus.
Kopsavilkumam var atzīmēt, ka neviens no apskatītajiem algoritmiem nevar tikt izdalīts kā universāli labākais. Kā maksimāli efektīvāko var izvēlēties ātrās šķirošanas algoritmu, jo tas pietiekoši ātri šķiro jebkādas sašķirotības pakāpes datu struktūras, tomēr, ja ir nepieciešamība pārbaudīt jau sašķirotus masīvus, tad ieteicamāk būtu izvēlēties ievietošanas vai uz tā bāzēto - Šella šķirošanas algoritmu.
…
Darbā tiek salīdzināti pieci šķirošanas algoritmi - bubble sort, select sort, insert sort, Shell sort un quick sort -, izmantojot C++ programmēšanas valodu.
- Diskrētās struktūras datorzinātnēs
- Projekta sfēras definīcija
- Šķirošnas algoritmu salīdzināšana
-
Tu vari jebkuru darbu ātri pievienot savu vēlmju sarakstam. Forši!Diskrētās struktūras datorzinātnēs
Paraugs augstskolai50
-
Transporta uzdevums
Paraugs augstskolai13
-
Mākslīgā intelekta pamati
Paraugs augstskolai20
-
Mākslīgā intelekta pamati
Paraugs augstskolai4
-
Operētājsistēmas. Strupceļu novēršana. Baņķiera algoritms
Paraugs augstskolai12

