Pievienot darbus Atzīmētie0
Darbs ir veiksmīgi atzīmēts!

Atzīmētie darbi

Skatītie0

Skatītie darbi

Grozs0
Darbs ir sekmīgi pievienots grozam!

Grozs

Reģistrēties

interneta bibliotēka
Atlants.lv bibliotēka
Akcijas un īpašie piedāvājumi 2 Atvērt
5,49 € Ielikt grozā
Gribi lētāk?
Identifikators:604378
 
Autors:
Vērtējums:
Publicēts: 02.05.2014.
Valoda: Latviešu
Līmenis: Augstskolas
Literatūras saraksts: Nav
Atsauces: Nav
Laikposms: 2011. - 2020. g.
Darba fragmentsAizvērt

Secinājumi
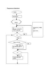
Tika atrisināta viena no pirmā laboratorijas darba esošām problēmām, tas ir, rezultējošais laiks starp led lampiņu iedegšanām ir noteikts daudz precīzāk.
Kā kļūdu avoti šajā risinājumā varētu kalpot:
• Taktējoša kristāla neprecizitāte
• Procesora veidota aizkavē (pāris cikli, kamēr tiek nodota komanda iedegt LED)
• LED lampiņas iedegšanas laiks
• Pirmsdalītāja izmantošana nosaka to, ka ja mums jāiegūst PRECĪZA vērtība, tad var gadīties, ka tā atradīsies tieši tai laikā kad skaitītājs vēl tiks piepildīts, tad notiks laika nobīde par pāris taktim vēlāk
Tomēr der pieminēt, ka šīs nobīdes ir ļoti nenozīmīgas un vienkāršākos projektos (tādos, ka šis) var netikt ņemtas vērā
Kā negatīvo lietu vēl gribētos pieminēt risinājuma un dokumentācijas pārlieku sarežģītību. Mēģinot panākt savietojamību un iespēju pielietot šo moduli sarežģītu risinājumu izveidei tiek apgrūtināta parasto izstrādātāju dzīve (Iet runa par pirmsdalītāja un vairāku skaitīšanas režīmu implementāciju, atzīstu – ērti, bet to var viegli implementēt arī programmas līmenī)
Kopumā uzstādītais mērķis tika sasniegts, gaismiņas pārslēdzās pēc noteikta laika intervāla. Tagad ir jāskatās, ko vēl interesantu var izdarīt ar ATMega128 kontrolleri.

Autora komentārsAtvērt
Parādīt vairāk līdzīgos ...

Atlants

Izvēlies autorizēšanās veidu

E-pasts + parole

E-pasts + parole

Norādīta nepareiza e-pasta adrese vai parole!
Ienākt

Aizmirsi paroli?

Draugiem.pase
Facebook

Neesi reģistrējies?

Reģistrējies un saņem bez maksas!

Lai saņemtu bezmaksas darbus no Atlants.lv, ir nepieciešams reģistrēties. Tas ir vienkārši un aizņems vien dažas sekundes.

Ja Tu jau esi reģistrējies, vari vienkārši un varēsi saņemt bezmaksas darbus.

Atcelt Reģistrēties