-
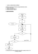
Laboratorijas darbs programmēšanā - vienkārša aprēķinu programma
Darbu komplekts:
IZDEVĪGI pirkt komplektā ➞ ietaupīsi −2,98 €
- 1.laboratorijas darbs. Datormācība ekonomistiem
- 2.laboratorijas darbs. Datormācība ekonomistiem
- Laboratorijas darbs programmēšanā - vienkārša aprēķinu programma
Materiālu komplekts Nr. 1334127


