-
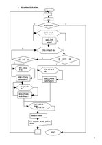
Divdimensiju masīva apstrāde. 6.laboratorijas darbs
Darbu komplekts:
IZDEVĪGI pirkt komplektā ➞ ietaupīsi −4,98 €
- Divdimensiju masīva apstrāde. 6.laboratorijas darbs
- Dokumentu veidlapu paraugi - laboratorijas darbs
-
Konkursa nolikums datortehnikas iegādei
Paraugs10
Materiālu komplekts Nr. 1111420


