-
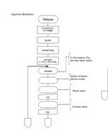
Algoritma blokshēma
-
Algoritma blokshēma
AugstskolaKonspekts2 -
Barošanas bloks
AugstskolaKonspekts3 -
Uzdevuma apraksts ar algoritma blokshēmu
AugstskolaKonspekts10
Algoritma blokshēma
Faila izmērs:
68 KB
Identifikators:
1138249






















